Clés à pipe débouchées 6/6 pans satinées
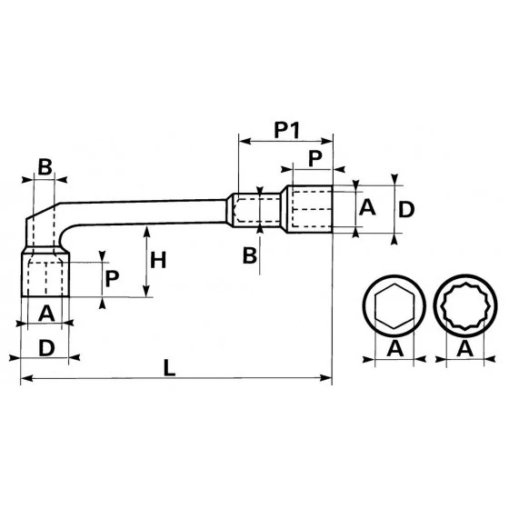
Clé à pipe débouchée 6×6 pans conçue pour les (des)serrages puissants.
Tête débouchée permettant le passage sur tiges filetées ou joncs débordants.
Forgée en acier au chrome vanadium.
Poinçonnage Surface Drive SAM évitant le matage des écrous.
Finition Satinée.
Forme fine pour faciliter l’accès aux écrous.
Clé à pipe débouchée 6×6 pans conçue pour les (des)serrages puissants.
Tête débouchée permettant le passage sur tiges filetées ou joncs débordants.
Forgée en acier au chrome vanadium.
Poinçonnage Surface Drive SAM évitant le matage des écrous.
Finition Satinée.
Forme fine pour faciliter l’accès aux écrous.
DIN ISO 1711-1,DIN ISO 691,ISO 1711-1,ISO 2236,ISO 691,NF ISO 1711-1,NF ISO 2236,NF ISO 691
Caractéristiques techniques
A mm : 6
B mm : 5,5
D mm : 11
H mm : 17
L mm : 97
P mm : 8
P1 mm : 23
Poids g : 30
B mm : 5,5
D mm : 11
H mm : 17
L mm : 97
P mm : 8
P1 mm : 23
Poids g : 30















Avis
Il n’y a pas encore d’avis.