Clés à pipe débouchées polies 6/6 pans en mm + clip
Clé à pipe débouchée 6×6 pans conçue pour les (des)serrages puissants.
Tête débouchée permettant le passage sur tiges filetées ou joncs débordants.
Forgée en acier au chrome vanadium.
Poinçonnage Surface Drive SAM évitant le matage des écrous.
Forme fine pour faciliter l’accès aux écrous.
Finition polie brillante.
Clé à pipe débouchée 6×6 pans conçue pour les (des)serrages puissants.
Tête débouchée permettant le passage sur tiges filetées ou joncs débordants.
Forgée en acier au chrome vanadium.
Poinçonnage Surface Drive SAM évitant le matage des écrous.
Forme fine pour faciliter l’accès aux écrous.
Finition polie brillante.
DIN ISO 1711-1,ISO 1711-1,ISO 2236,ISO 691,NF ISO 1711-1,NF ISO 2236,NF ISO 691
Caractéristiques techniques
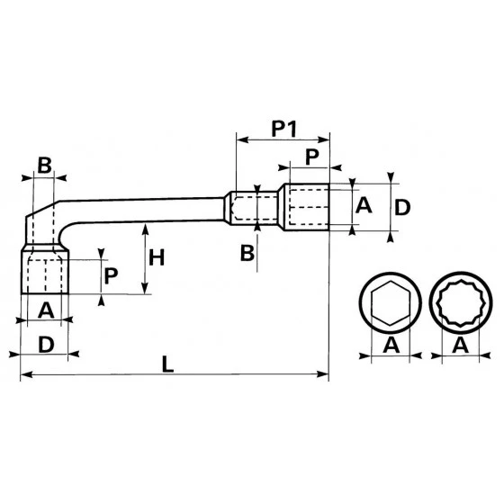
A mm : 8
B mm : 6,5
D mm : 14
H mm : 22
L mm : 119
P mm : 10
P1 mm : 28
Poids g : 50
B mm : 6,5
D mm : 14
H mm : 22
L mm : 119
P mm : 10
P1 mm : 28
Poids g : 50















Avis
Il n’y a pas encore d’avis.